简介
舵设备是船舶在航行中保持和改变航向及旋回运动的主要工具。俗话说“大海航行靠舵手”,舵设备对于航海人员的重要性不言而喻。1960年德国工程师贝克先生发明了贝克舵,突破了人们传统的概念M(转舵力矩)在舵角35°时达到最大值,随后其被广泛的应用在港内拖轮以及江内的小船,发展至今天由贝克先生创立的BECKERMARINESYSTEM已经建立了一套完整的体系1。
贝克舵的襟翼(副舵)面积约为总舵面积的25%,转角比为2,襟舵角最大可达90°,其侧向力较普通舵高出50%。贝克舵有多种型式,可用于设有舵踵的船上,也可制成悬挂式,还可与固定或转动导管组合使用,以进一步提高推进和操纵性能。悬挂式的舵杆承受弯矩很大。在大型船舶上采用舵轴筒-舵杆-舵杆轴承(筒称KSR)支承结构,由舵轴筒承担经舵杆传递的部分弯矩,以减小舵杆直径。贝克舵自20世纪60年代初用于内河船以后,又推广至海船。在近海船、多用拖船及消防船等船舶上应用较广。
结构
Becker Rudder 的设计是由两片舵叶来组成一个舵面积的。 靠近车叶的内侧舵面, 称叫主舵叶,它所起的作用和构造就相当于所使用普通舵的一部份;在这一主舵叶的后面,也叫外侧,与主舵叶在同一平面上联在一起的,有一个副舵叶。在正常工作时,它和主舵叶紧密结合在一个平面上,组成了一个完整的舵。这种结构的舵叶有别于其他的舵。因为主、副舵叶作为一个舵的整体,它可以转动而达到某一个舵角;它的副舵叶,相对于它的主舵叶来说,又是可转动的,换言之,两片舵叶之间也可转动,从而来形成另外一个舵角。
不同类型的船舶,根据其操纵性能上的要求,主、副舵叶舵面积的比例会有所不同。一般主舵叶(内侧的一块舵面)约占三分之二,而副舵叶(外侧的一块舵面)约占三分之一。
综上所述, Becker Rudder 是由两片舵叶,来共同构成一个完整的舵面。正常操作时,两片舵叶是紧密结合 ,形成一个完整的舵, 但当在港内操纵需要时, 外侧的副舵叶相对于主舵叶也是可以转动的,以形成更大的舵角,从而来荻得更大的回旋动力。
工作原理
传统的舵在使用满舵时,其舵角一般能达到 35°左右(但也有些单舵叶的船舶,能达到 45°),而 Becker Rudder 在用满舵 60°时,主舵叶的舵角先达到了 35°停止了转动,而副舵叶则继续转动,一直达到 60°为止。这样,当螺旋浆车叶的排出流打到主舵叶上,因为有舵角,在船尾产生横向和向前的二个分力;但当部分的排出流打到了副舵叶上,由于副舵叶的角度较大,达到了 60°,在船尾产生一个横向的推力,这一横推力和主舵叶上产生的横向推力方向一致;但副舵叶的大舵角受到了排出流的冲击,使船舶增加了向前的阻力。(向前的阻力增大是由于舵角大,相当于在船尾固定了一个几乎是横向的钢板,并且遇上了排出流的流水冲击)。
Becker Rudder 在满舵 60°的情况下, 主、副舵叶两个不同角度的舵面所产生的横向推力, 方向一致从而相叠加;但船舶向前的阻力增加,抵消了部分主舵叶上向前的分力,且整个排出流的方向被舵叶导向 60°的方向,从而对船尾产生一个几乎是横向的推力,使船舶在几乎不向前移动、或很少向前移动的情况下,产生较大的回旋动力,这就是 Becker Rudder 简单的工作原理。
沿革及运用
Becker Rudder 早期一般大多用在船长为 100 到 150 米左右、排水量在 10000 吨左右或以下的散、杂货船舶。装有这种舵的船舶主要用于运输一些特殊的物资,如军火、设备等去一些港口条件不是很好的地方,比如非洲的一些港口。有些港口没有拖轮服务,自然条件比较复杂,二装有 Becker Rudder 的船,就相当于在船艉也安装了一个侧推器,可以自行较为方便地靠、离码头。近年来,装有 Becker Rudder 的船舶尺度越来越大,且随着世界范围内的经济合作日益紧密,技术转让越来越普及。目前一些主要的造船国家都在造这种类型舵的船舶,并且这种类型舵已逐渐在一些集装箱船舶上安装使用。如美国莱克斯( LYKES)轮船公司的集装箱船 LYKES MASTER轮,总长 217.17 米,2000 箱位,就装有 Becker Rudder 。该轮就是由我国上海江南造船厂建造的。
注意事项
(1)装有 Becker Rudder 的船舶的推进器都是可变螺距(CPP)的。由于 CPP的船舶是靠调整车叶的角度来获取前进的速度, 而角度是可任意调控, 所以速度也可随之任意变换, 相当于无级变速。因此,如有需要,装有 Becker Rudder 的船舶可以用最小的车速,使船舶在不前进的情况下原地转向。一次在操作 LYKSE MASTER轮离码头时,用微速进车,满舵 60°,船不前进,但产生了极为明显的偏转。
(2)Becker Rudder 也可以按正常的舵使用,10°,20°,30°等舵角都可以用 (当舵角 35°以下时,主、副舵叶是结合在一起作为一个整体来转动的),所以下舵令时要明确,用英文口令从左(右)舵 5°,一直到左(右)舵 60°。但是如果你要用左、右满舵的口令时,则必需说明这个满舵是到 35°还是 60°的,即 Hard-starboard to Thirty-five 或 Hard-starboard to Sixty 。
(3)在离码头时,如果想让船舶在转向的同时,又向前进,以便使船舶逐渐远离码头,则不要使用 60°的舵角, 如果用了 60°的舵角, 船舶获得前进的速率是非常不明显的。
(4)在港内操作时,使用 Becker Rudder 到 60°舵角,车速一般控制在慢速以下,在快车或较高车速前进的情况下,一般不用 Becker Rudder 到 60°舵角。主要有二个原因,一是因为用快车时总想获得前进的速度, 但 Becker Rudder 到 60 舵角,将会严重的影响正常的速度, 且在快车的情况下,正常的满舵 35°,船舶的操纵性能也是很好的;二是因为舵角过大而用快车,容易引起舵叶变形。但停车淌航时为了增加舵效,可以用 Becker Rudder 到 60°,以增加回旋的动力。
安装工艺
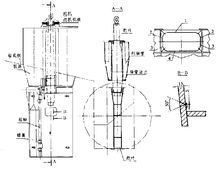
如图1所示,贝克舵主要由舵轴管、舵杆、舵叶组成,其
安装工艺的关键就在舵轴管结构的安装。
假体是位于舵叶上方与船体底板相连的结构体,具有与舵叶剖面相似的流线型外形。在安装舵轴管之前,应先完成假体结构的预制与预装。预装时,要求待艉分段翻身合拢后,再吊装假体预制件。预装完成后,按设定的位置将假体的底板和中纵筋中间部分割去,吊装并焊接舵轴管。
安装舵轴管的顺序如下:
(1)采用拉钢丝法确定舵机中心线。根据舵系理论中心线上、下基准点,分别放置拉线架,选用0.8mm钢丝拉线,此钢丝代表舵系中心线。
(2)穿过船体艉段,由下往上起吊舵轴管结构,使钢丝垂线和舵轴管的中心线重合。轴管法兰下边缘位于基线以上4 200mm,轴管法兰平面纵向中心线与船体中心线(即舵角零位线)重合,用辅助材料支撑固定。
(3)舵轴管和艉段、假体的焊接要求由两名焊工对称焊接连接的结构,由下至上或由上至下,并时时注意测量焊接变形,以调整焊接程序。其对接焊一面焊后,另一面封底焊应刨槽见白,保证焊透,刨槽质量应有专职检验员检验。
(4)完成假体外壳板的装焊,注意左右对称焊接,确保塞焊缝质量。
(5)拆除辅助材料2。

扫码下载APP
科普中国APP
科普中国
科普中国